
品牌介绍
上海恒跃医疗器械有限公司成立于2011年,座落于上海市共和新路3088弄祥腾财富广场二号楼内。下属经济实体有上海跃进医用光学器械厂和上海跃进医疗器械有限公司(简称分公司)。我们一贯秉承“以科技保证品质,以服务完善产品”的宗旨,领导中国行业潮流,是业界公认中国医疗设备、实验仪器制造行业的标杆企业。
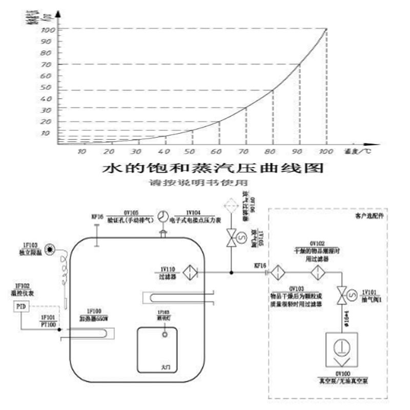
产品介绍
真空干燥箱是专为干燥热敏性、易分解和易氧化物质而设计的,工作时可使工作室内保持一定的真空度,并能够向内部充入惰性气体,特别是一些成分复杂的物品也能进行快速干燥,采用智能型数字温度调节仪进行温度的设定、显示与控制。
LCD液晶屏显示,按键输入
微电脑智能控温,控温可靠
加热器位于箱内搁板左右两侧同时对两块隔板加热。加热时间短,上下板层温度均匀性良好
工作室采用不锈钢板并抛光处理。确保产品的美观及经久耐用
钢化防弹双层玻璃门。确保工作时操作者的
箱门闭合松紧能调节,沿口采用硅橡胶密封圈确保工作室内的高真空度,并可通过验证口向工作室内充入惰性气体(充气时注意气体压力应不大.于0.1MPa)
真空控制采用数字式电接点压力表,控制箱内真空度准确,并可以随意设定箱内的上下限真空度。配有独立限位报警功能,确保制品的
操作室配有LED照明灯,方便操作者实时观察箱内制品的干燥情况


.jpg)
售后服务承诺:
亿家老小商城向您保证所售产品,均为原厂全新正品,开具增值税专票,享受厂家联保。
亿家老小商城还为您提供具有竞争力的商品价格、金融分期方案及免运费政策,请您放心购买!
声明:因厂家会在没有任何提前通知的情况下更改产品包装、产地或者一些附件,本司不能确保客户收到的货物与商城图片、产地、附件说明完全一致。只能保证与当时市场上同样主流新品一致。若本商城没有及时更新,请大家谅解!
注: 产品质量问题,在产品售出7天内提出异议并且产品未有损坏的,亿家老小负责无条件免费退换货;质保期内如有质量问题,免费维修;质保期外长期提供技术支 持,不收维修费,只酌情收取基本配件费及相关费用;所有产品售后问题,请直接联系我司(7x24小时热线:400-027-9875),我司售后服务团队 30分钟内相应处理。




